Купити NAGARES RSO/15-12 Реле, робочий струм або його аналоги - Autooriginal.de
Для отримання оптових цін, пройдіть, реєстрацію
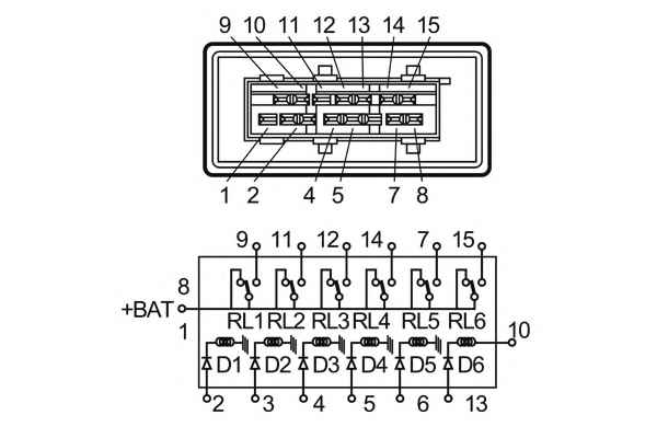
Виробник NAGARES
Номер RSO/15-12
Ім'я Реле, робочий струм
Номинальное напряжение [V] 12
Сила тока [A] 30
Количество полюсов 13
Дополнительный артикул / Дополнительная информация з кронштейном
Виробник Артикул Опис Інформація К-ть Ціна
NAGARES RSO/15-12
Реле, робочий струм
Запит